流量难买?转化成本居高不下?有效线索少?投放效果时好时坏?相信很多广告从业者都遇到过和我一样的问题。
在行业竞争越来越大,拓客成本愈来愈高的今天,作为一名从业多年的腾讯广告优化师,怎样才能打破困境,提高投放效果呢?我认为把握住媒体每次产品功能更新的机会,才能实现弯道超车。就比如腾讯广告近期推出的新资源——搜索广告投放,我们尝试后,发现投放的搜一搜广告的首日ROI比传统信息流投放的首日ROI提高了10%,次留提升了13%,今天我就给大家分享一下我的投放经验~
01
什么是腾讯的搜索广告?
简单来讲,腾讯的搜索广告投放就是用户在“QQ浏览器”和“微信搜索"场景下,搜索关键词后所产生的广告推送。
具体展示如下图 :


▲QQ浏览器搜索广告展示
用户搜索关键词“香水”就会展示与关键词香水有关的商品,搜索“车票”就会出现可以购买“车票”的软件,广告形式支持单图、图集、大图、视频、图文、子链,对广告主而言,可选择推广的形式更加丰富齐全。


▲微信搜一搜广告展示
微信搜索广告投放的营销链路则更加多元化,样式原生,目前支持应用推广,商品推广,销售线索收集,品牌活动推广,小游戏推广和公众号推广。
02
与信息流广告相比
搜索广告有什么不同和优势呢?
简单来说,搜索广告和信息流广告的区别就是:搜索广告是客户主动搜索展现的广告,而信息流广告是系统智能推荐给用户展现的广告。腾讯广告覆盖全国几亿用户,我们怎样才能获取到适合自己产品的用户,这是每个优化师都会面临的考验。我们平常在搭建广告账户时,如果定向设置过窄,广告计划容易跑不出去;如果定向设置宽泛,转化效果又会有所下降。
而腾讯新推出的搜索广告通过定向+创意+关键词的设定,可以在广告定向人群手动搜索关键词时加以展示,广告能推送到更有转化意向的用户。
展开来说,搜索广告相对于信息流广告,有以下3点独特优势:
1. 匹配度更高
一般我们在搭建计划时,会设置很多定向来挑选自己买量的用户(比如性别,消费能力,年龄,兴趣爱好等),而腾讯的搜索广告依托于QQ浏览器2.7亿用户和微信庞大的用户基数上,通过基础定向+“关键词”的设置,广告匹配更为核心的用户群体,用户在搜索关键词的时候即自动推送广告展示。
2.提升转化率
一般用户搜索关键词说明其有明确的搜索意图,在这样的搜索环境下,用户的接受度更高,有利于提升转化率。
3.获客便捷
腾讯搜索广告更大的优势是可以通过广告便捷直接的添加微信或企业微信,可以跳过复杂的跳转链路,避免用户流失。
03
与首日roi提升近10%,点击率翻倍!
如何搭建一条有竞争力的搜索广告?
我是一名旅行代运营的广告优化师,*近我们也陆续开始加大投放力度,但其实现在的大环境下,每个人的出行意愿不同,实际投放中ROI波动较大,再加上传统信息流的买量成本愈来愈高。所以我们决定测试一下”搜索广告“据说这种转化效果更优的广告类型,能够帮助我们筛选更具有出行意愿的群体。
首先给大家展示一下搜索广告的搭建流程:
(1)选择版位
打开腾讯广告投放平台(ad.qq.com),选择推广-点击新建搜索广告,可以选择微信搜一搜和QQ浏览器两个版位,我们可以分计划或分渠道包AB测试两个版位各自的投放效果。

(2)设置关键词
点击【新建关键词】按钮,打开新的页面,选择搜索计划、广告后,进行添加关键词。
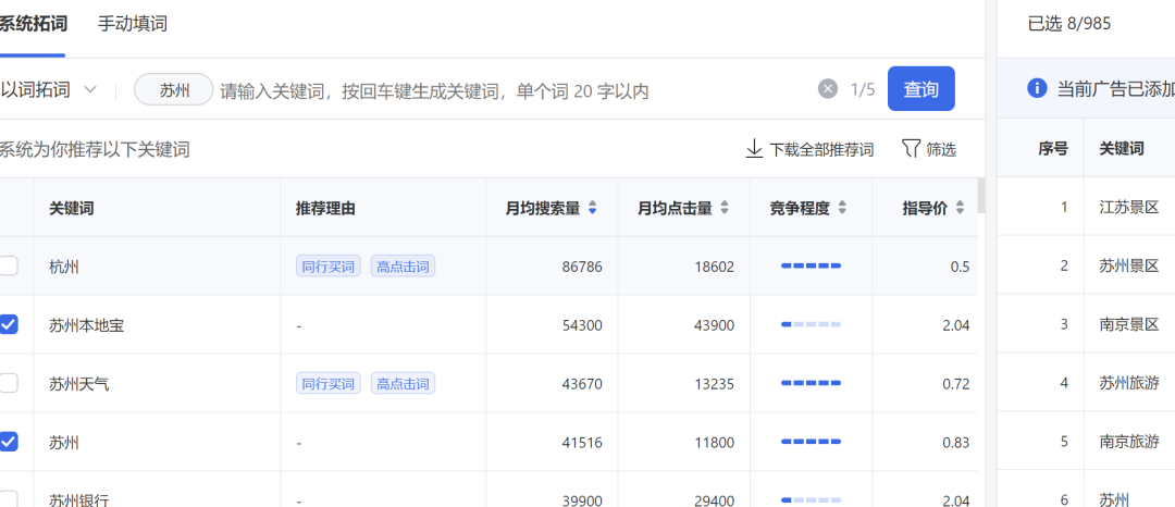
一般我在选择关键词时,会把按照关联性把关键词分为“A”“B”“C”三个层级,再根据词的层级阶梯出价 。
比如投放江苏苏州地区的景区游项目,按照出价排序:“苏州景区旅游”出价>“江苏景区旅游"出价>“旅游”出价。
核心关键词往往需要更高的价格去争夺精准流量。

广告后台还会披露出点击量,搜索量,竞争程度,建议价格
点击量代表用户对关键词的感兴趣程度,竞争程度高的词意味着我们要出更高的价格去拿到流量。
而建议价格则是根据广告主设置的搜索词与关键词*匹配的情况下显示的搜索结果首页位置,系统估算可能需要出到的价格,当然,即使出价低于建议出价,广告还是会展示的,但不太可能会出现在搜索结果头部的较优位置。
(3)添加否定词:
在设置完关键词后,我们一定要记得添加否定词。在计划里添加否定词,可以减少不必要的预算浪费,使关键词更精准。

注意!否定词是在广告计划层级添加的,不会在创建计划时显示,要在自定义列表手动调出“计划否定词”这一栏。
否定关键词支持设置短语否定词和*否定词,为了更好的了解他们的意义。我举例讲一下,假如我司要投放江苏省的景区旅游广告,做了一个关键词“江苏景区”,并设置了广泛匹配,在推广的时候,用户搜索“上海景区”等也能看到我司设置的广告,可是上海用户并不是我们的意向用户,转化的可能性很小。
那只要我将“上海”进行短语否定,那么只要用户以后搜索的内容包含“上海”,如“上海景区”“上海景区推荐”那么就不会出现我们代运营的广告。

我们在不同的广告账户分别创建了信息流广告计划和搜索广告计划,使用相同的创意、定向和广告版位。结果也是很令我们惊喜:
搜一搜广告与腾讯信息流广告相比,无论是首日ROI,点击率,次留率都有了较大提升。首日ROI提高了近10%。点击率翻了近一倍,注册成本也降低了3元左右。

虽然从整体投放来看,目前我们搜索广告的消耗比信息流要少,但是明显可以感觉到搜索广告的投放数据效果会更好,因此,后续我们也会持续加大腾讯搜索广告的投放力度,争取突破新的量级。
04
总结一下
随着传统的信息流广告的不断发展,赛道竞争愈演愈烈,我们都在迫切地寻求新的流量突破口。而现在腾讯搜索广告产品刚刚上线,还处于蓝海阶段,对于我们从业者而言,既是机会,又是挑战。
其中有很多投放技巧和玩法也有待我们更多测试和深入钻研,在此推荐在投放中遇到瓶颈的同学去试一试。而今年腾讯广告后台“一站式”升级后,腾讯搜索广告可以直接在腾讯广告投放平台(ad.qq.com)上进行投放了,操作起来也很方便简单。
*后祝大家都能通过搜索广告获得更精准的销售线索,降本提效,把握住买量红利!
本文标题:首日ROI提升10%!*优化师教你用好搜索广告,抓住买量红利!
本文链接:https://www.eatui.cn/xinxiliu/30650.html


